
图片来源于网络,如有侵权,请联系删除
(原标题:强脑科技申请公布仿生手指、机器手专利)
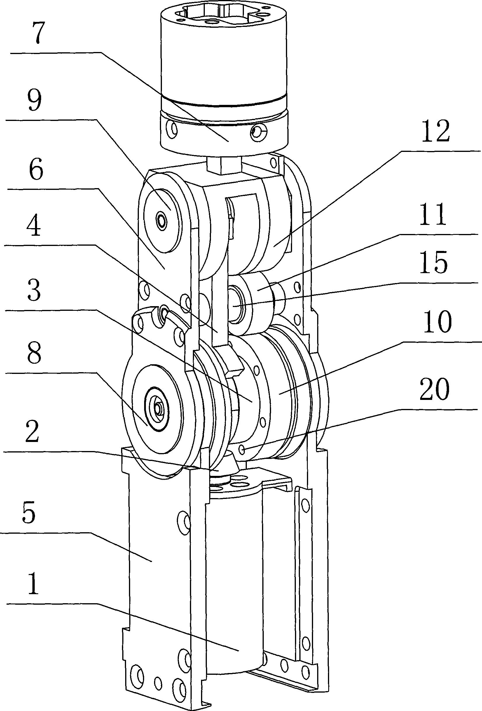
企查查APP显示,近日,浙江强脑科技有限公司申请公布“一种仿生手指、机器手及机器人”专利。
专利摘要显示,本发明公开了一种仿生手指、机器手及机器人,仿生手指包括:基部;触觉指节,设置有触觉传感器;连接组件,分别与所述基部、所述触觉指节转动连接;驱动组件,设置于所述基部;控制组件,分别与所述触觉传感器、所述驱动组件电连接;其中,所述控制组件基于所述触觉传感器采集的触觉信息,控制所述驱动组件转动所述连接组件,并带动所述触觉指节转动。驱动组件可以驱动连接组件转动,并带动触觉指节转动。控制组件可以获取触觉传感器的触觉信息,并控制驱动组件转动连接组件,实现仿生手指的弯曲和舒展,使得仿生手指具有更好的仿生效果。

图片来源于网络,如有侵权,请联系删除
